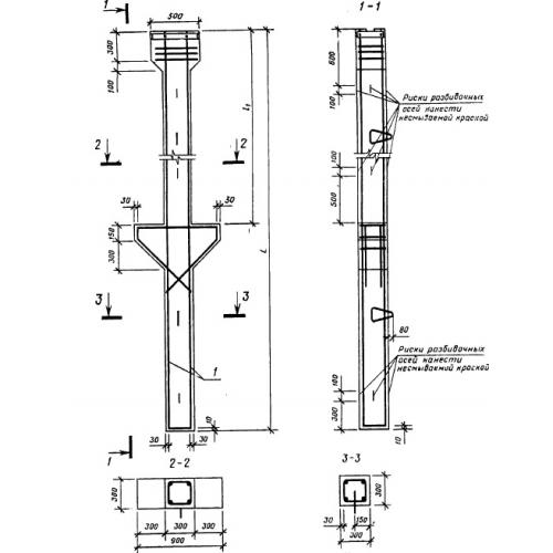
2СД 75

Чертеж изделия:
Характеристики изделия:
ПараметрЗначение
длина7500 мм
ширина300 мм
высота300 мм
масса1850 кг
нормативный документГОСТ 19804.7-83

2СД 75  Сваи-колонны двухконсольные средние с уширением верха ГОСТ 19804.7-83.