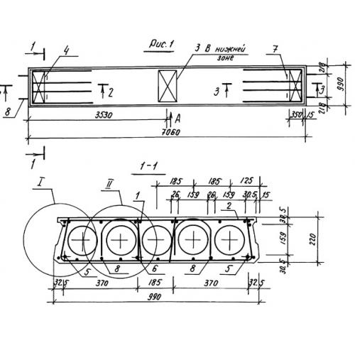
ПК 71.10

Чертеж изделия:
Характеристики изделия:
ПараметрЗначение
длина7060 мм
ширина990 мм
высота220 мм
вес2050 кг
серия1.141.1-32с

ПК 71.10 Плиты перекрытия многопустотные по серии 1.141.1-32с.