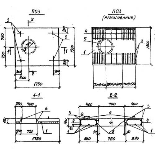
ПО 3

Чертеж изделия:
Характеристики изделия:
ПараметрЗначение
длина1750 мм
ширина1500 мм
высота160 мм
вес900 кг
серия3.006-2

ПО 3 Плиты перекрытия лотков по серии 3.006-2.