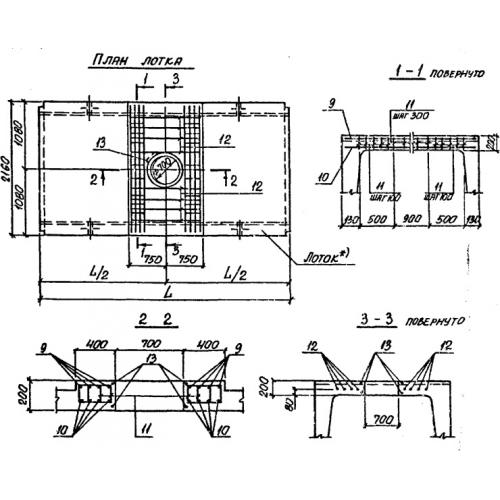
Ло 19

Чертеж изделия:
Характеристики изделия:
ПараметрЗначение
длина5970 мм
ширина2160 мм
высота740 мм
масса800 мм
нормативный документСерия 3.006.1-2/82

Ло 19 Лотки теплотрасс с отверстиями Серия 3.006.1-2/82.