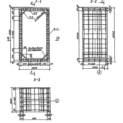
Блок №97

Чертеж изделия:
Характеристики изделия:
ПараметрЗначение
длина2240 мм
ширина1220 мм
высота1000 мм
вес1900 кг
серия3.501-104

Блок №97 Звенья прямоугольной трубы по серии 3.501-104.