70СП-9
Характеристики изделия:
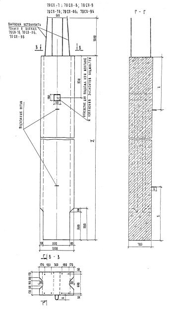
| Параметр | Значение |
|---|---|
| длина | 8880 мм |
| ширина | 1000 мм |
| высота | 860 мм |
| масса | 14800 кг |
| нормативный документ | Серия 3.503-23 |
Цена:
Рассчитать стоимость70СП-9 Блоки стенок Серия 3.503-23.
| Параметр | Значение |
|---|---|
| длина | 8880 мм |
| ширина | 1000 мм |
| высота | 860 мм |
| масса | 14800 кг |
| нормативный документ | Серия 3.503-23 |
70СП-9 Блоки стенок Серия 3.503-23.