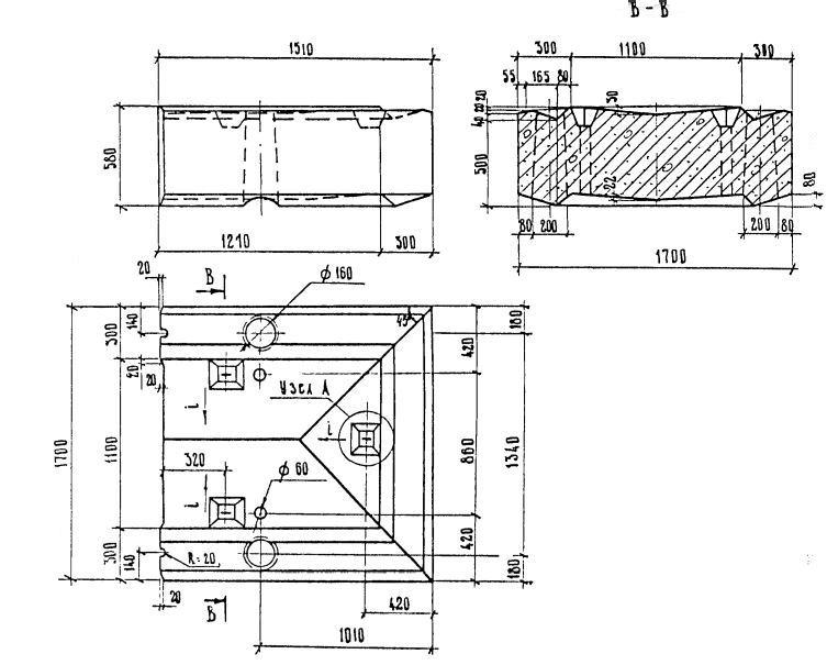
Ц-9

Чертеж изделия:
Характеристики изделия:
ПараметрЗначение
длина1510 мм
ширина1700 мм
высота580 мм
масса3200 кг
нормативный документСерия 3.503-23

Ц-9  Блоки цокольной части Серия 3.503-23.