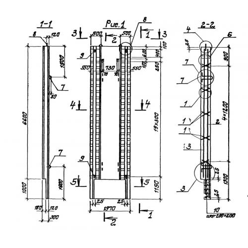
3ПС 66

Чертеж изделия:
Характеристики изделия:
ПараметрЗначение
длина1970 мм
ширина300 мм
высота7600 мм
вес8700 кг
серия3.902.1-12

3ПС 66 Стеновые панели для способа "стена в грунте" по серии 3.902.1-12.