Ф-2

Чертеж изделия:
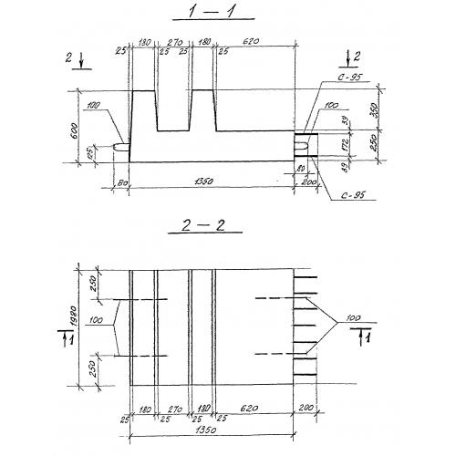
Характеристики изделия:
ПараметрЗначение
длина1350 мм
ширина1980 мм
высота600 мм
масса2400 кг
нормативный документСерия 3.903 КЛ-13

Ф-2  Фундаменты по Серии 3.903 КЛ-13.