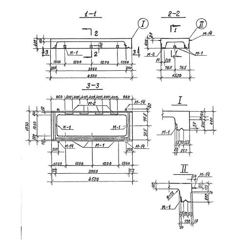
НБК-4.0

Чертеж изделия:
Характеристики изделия:
ПараметрЗначение
длина4520 мм
ширина1530 мм
высота400 мм
масса4030 кг
нормативный документСерия 3.903 КЛ-13

НБК-4.0 Нижние блоки камер по Серии 3.903 КЛ-13.