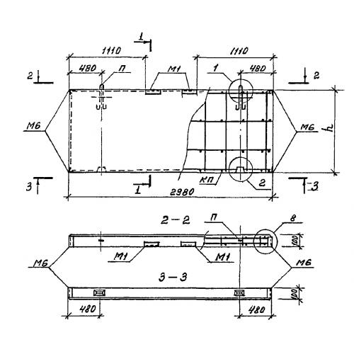
ПС 300.90.10

Чертеж изделия:
Характеристики изделия:
ПараметрЗначение
длина2980 мм
ширина100 мм
высота885 мм
вес480 кг
Шифр111-83

ПС 300.90.10 Панели стеновые по Шифру 111-83.