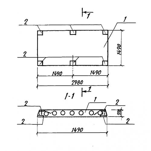
ПТ 30-15 Плита

Чертеж изделия:
Характеристики изделия:
ПараметрЗначение
длина2980 мм
ширина1490 мм
высота220 мм
масса330 кг
нормативный документТП 501-07-3.83

ПТ 30-15  Плиты многопустотные по Типовому проекту ТП 501-07-3.83.