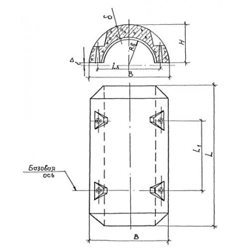
2УТК 530 Утяжелители

Чертеж изделия:
Характеристики изделия:
ПараметрЗначение
длина1200 мм
ширина880 мм
высота425 мм
масса370 кг
нормативный документТУ 102-264-81

2УТК 530 Утяжелители сборные кольцевые по ТУ 102-264-81.